深圳市科金明电子股份有限公司除了成功开发影院级原生4K 分辨率单LCD 投影仪,更在行业内首创2LCD投影显示技术,推进了国产高端LCD 智能投影仪的产业化进程。2LCD投影采取了全新的照明光路设计及色彩合成技术成像,结合了LCD 投影技术的性能及成本优势,又保留了智能投影的便携属性。基本原理如下:

与单LCD 不同的是,2LCD 产品由于涉及到两路光线,需要将两条储存了不同颜色信息的光线进行精准融合,并保证光线在亮度、色彩等各方面的均一性,以达到优质的成像效果。相比于单LCD:(1)由于双光路的使用,显示色域覆盖率提升至90%,投影显示画质明显提升;(2)2LCD 在光路结构上由两色滤光片代替三基色滤光片,光能损失理论上可由77%减少至50%,极大地提升了光效率,突破LCD 投影显示亮度性能瓶颈;(3)光损失的减少可降低LCD 显示面板由于光能损失带来的温度上升,提升显示面板使用寿命及光透过率。而相比于3LCD,在产品成本以及产品体积上有明显优势。2LCD 技术路径在投影显示亮度、色彩饱和度方面的极大提升,为国产化高性能LCD 投影仪提供了新的技术路径基础。
2LCD与单LCD、3LCD技术对比

科金明在2022年投入较大资金从事2LCD投影研发,并取得了多个专利。据悉,2LCD产品2024年初已定型并实现小批量生产,联想、飞利浦、TCL等品牌已向公司下达意向订单,公司向其提供小批量产品用于内部立项以及产品质量认证,2024年年中交付首批产品。预计2024年底将可规模化量产。
科金明2LCD的投影专利
高色域覆盖率2LCD投影装置,提高LCD投影仪的色域覆盖率
申请公布号:CN114185235A,申请公布日:2022.03.15

本发明涉及一种高色域覆盖率2LCD投影装置,包括光源、透镜、LCD模组、合光镜、场镜、投射镜头,LCD模组为两个黑白透射式LCD模组(包括第一LCD模组和第二LCD模组)。第一LCD模组交替显示两种不同色场图像,由第一束光和第二束光交替照明;第一束光和第二束光的交替点亮和熄灭周期与该LCD模组的两种不同色场交替周期同步;第二LCD模组交替显示另外两种不同色场图像,由第三束光和第四束光交替照明;第三束光和第四束光的交替点亮和熄灭周期与该LCD模组的两种不同色场交替周期同步;穿过两个LCD模组的光线由合光镜进行合光,经场镜、投影镜头后将图像成像在屏幕上。本发明可提高LCD投影仪的色域覆盖率。
一种2LCD投影方法及投影装置
申请公布号:CN114185233A,申请公布日:2022.03.15

本发明涉及一种2LCD投影方法,利用两组光源,第一组光源发出第一束光,第二组光源发出第二束光和第三束光;第一束光经过透镜后照射在两个LCD模组中的第一LCD模组上,第二束光和第三束光经过透镜后照射在第二LCD模组上;第一LCD模组的光透过合光镜,第二LCD模组的光被合光镜反射,合光镜对透射光和反射光进行合光;光线合光后经过场镜、投影镜头将图像成像在屏幕上。本发明还涉及一种投影装置,包括:光源、透镜、LCD模组、合光镜、场镜、投射镜头;光线自光源发出后,沿着透镜、LCD模组、合光镜、场镜、投射镜头形成光路。本发明解决了现有单LCD投影仪亮度低、周边光量比低的技术问题。
一种2LCD投影方法及投影装置
申请公布号:CN115145096A,申请公布日:2022.10.04

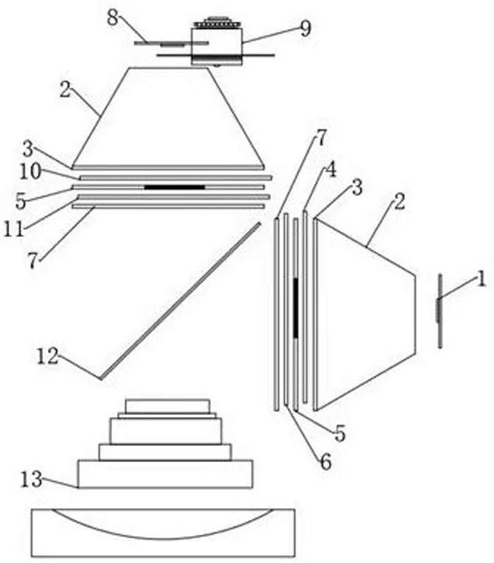
本发明涉及投影装置技术领域,具体为一种2LCD的投影装置,包括投影装置,所述投影装置的前端固定设置有镜头,且投影装置的内部内底面后端开设有定位槽,且其内底面前端开设有安装槽,所述安装槽的内部固定设置有支撑台,所述支撑台上开设有安装孔,所述投影装置的内部两侧壁上对称固定设置有斜向定位块,且斜向定位块处于安装槽的上侧,且每侧的斜向定位块为两个,本发明还涉及一种2LCD投影方法,包括以下步骤:步骤一:平行光路照射;步骤二:垂直光路照射;步骤三:光线合光。
一种可调节反射式超短焦2LCD投影机:解决单LCD亮度低的问题
申请公布号:CN115373199A,申请公布日:2022.11.22

本发明涉及投影机技术领域,具体为一种可调节反射式超短焦LCD投影机,包括有双光学投影单元,所述双光学投影单元由蓝色光单元和黄色光单元两部分构成,且蓝色光单元包括有蓝色LED光源、聚光装置、入射聚光镜、蓝色入射偏光板、黑白LCD、蓝色出射偏光板、场镜,且黄色光单元包括有黄色LED、分时颜色分离器、聚光装置、入射聚光镜、黑白LCD、场镜、黄色入射偏光板、黄色出射偏光板,所述蓝色光单元和黄色光单元之间设置有二相色镜,且二相色镜的侧面还设置有反射式超短焦镜头。本发明的投影机采用了2LCD反射式超短焦结构,有两个LCD用于投影,提高光的透过率,增加能效比,从而有效的增强投影亮度,解决单LCD亮度低的问题。








明基投影机
坚果投影机
科视投影机
极米投影机
SONNOC投影机
宝视来投影机
视美乐投影机
当贝投影机
哈趣投影机
WAP手机版
建议反馈
官方微博
微信扫一扫
PjTime